СКЦ 3

Чертеж изделия:
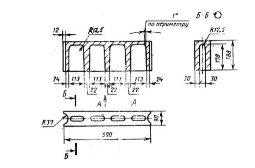
Характеристики изделия:
ПараметрЗначение
длина590 мм
ширина90 мм
высота188 мм
масса20 кг
нормативный документГОСТ 6133-84

СКЦ 3  Камень стеновой  перегородочный на цементном вяжущем ГОСТ 6133-84.