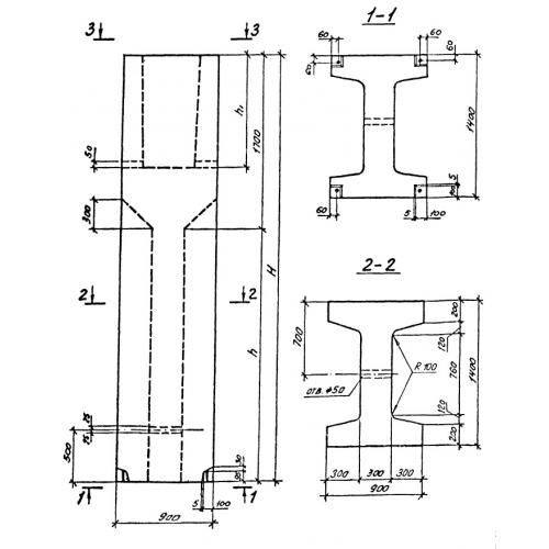
ВБ 9.14.21

Чертеж изделия:
Характеристики изделия:
ПараметрЗначение
длина900 мм
ширина1400 мм
высота2090 мм
вес5090 кг
серия0-221-84

ВБ 9.14.21 Блоки-стаканы верхние по серии 0-221-84.