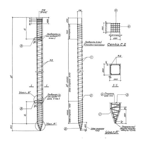
СУ 6-25

Чертеж изделия:
Характеристики изделия:
ПараметрЗначение
длина6000 мм
ширина250 мм
высота250 мм
масса950 кг
нормативный документСерия 1.011-1

СУ 6-25  Свая цельная сплошного квадратного сечения с ненапрягаемой арматурой, трещиностойкая  (Серия 1.011-1).