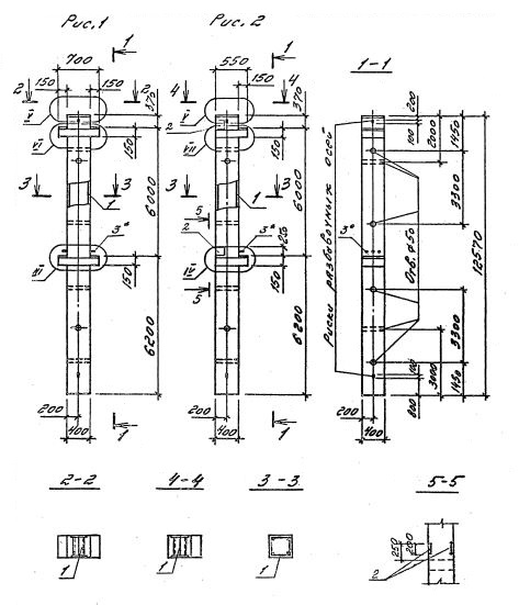
2КБО 60.60
Характеристики изделия:
| Параметр | Значение |
|---|---|
| длина | 12570 мм |
| ширина | 400 мм |
| высота | 550 мм |
| масса | 5080 кг |
| нормативный документ | Серия 1.020.1-4 |
Цена:
Рассчитать стоимость2КБО 60.60 Колонны бесстыковые одноконсольные (Серия 1.020.1-4).
Маркировка включает высоту этажей (дм), диаметры угловых и промежуточных стержней арматуры (мм), марку бетона:
2КБО 60.60-3.20.00
2КБО 60.60-3.25.00
2КБО 60.60-3.28.00
2КБО 60.60-3.32.00
2КБО 60.60-3.36.00
2КБО 60.60-3.40.00
2КБО 60.60-4.40.00