3КБД 48.48

Чертеж изделия:
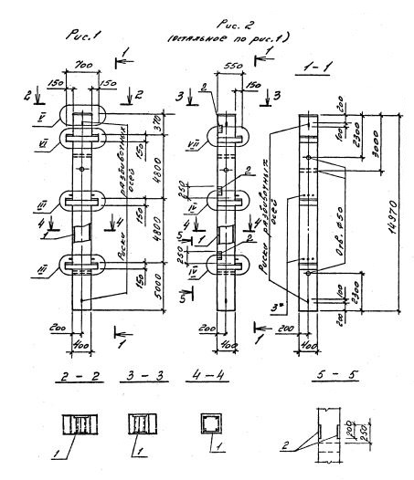
Характеристики изделия:
ПараметрЗначение
длина14970 мм
ширина400 мм
высота700 мм
масса6120 кг
нормативный документСерия 1.020.1-4

3КБД 48.48     Колонны  бесстыковые двухконсольные (Серия 1.020.1-4).

Маркировка включает высоту этажей (дм), диаметры угловых и промежуточных стержней арматуры (мм), марку бетона:

3КБД 48.48-3.20.00

3КБД 48.48-3.22.00

3КБД 48.48-3.28.00

3КБД 48.48-3.36.00

3КБД 48.48-4.40.00

3КБД 48.48-5.40.00