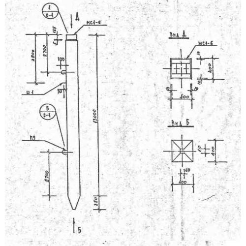
С 13-40

Чертеж изделия:
Характеристики изделия:
ПараметрЗначение
длина13000 мм
ширина400 мм
высота400 мм
вес5250 кг
серия1.111 КЛ-2

С 13-40 Свая составная квадратного сечения по серии 1.111 КЛ-2.