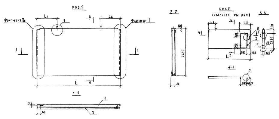
ПСВ 66-27-12-150т-2.2.1.2
Характеристики изделия:
| Параметр | Значение |
|---|---|
| длина | 6520 мм |
| ширина | 120 мм |
| высота | 2650 мм |
| масса | 4600 кг |
| нормативный документ | Серия 1.131.1-23 |
Цена:
Рассчитать стоимостьСерия 1.131.1-23
ПСВ - Панель стеновая внутренняя.
66 - длина (в дм);
27 - высота (в дм);
12 - толщина (в мм);
150 т - марка и вид бетона (из тяжелого бетона (т) марки по прочности на сжатие М150);
2,2,1,2 - индексы, характеризующие положение панелей в плане здания и их конструктивные особенности ( 2 - панели продольных стен; 2 - панель с проёмом, 1 - ширина проёма 890мм, 2 - ширина меньшего простенка 450мм).