1БНЛ 5.27.50

Чертеж изделия:
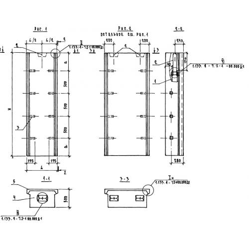
Характеристики изделия:
ПараметрЗначение
длина565 мм
ширина500 мм
высота2680 мм
вес840 кг
серия1.133.1-7

1БНЛ 5.27.50 Блок простеночный лоджий по серии 1.133.1-7.