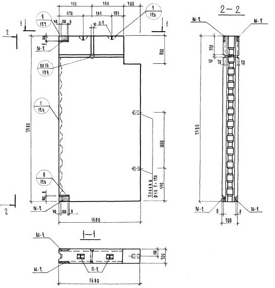
СБВ-15.2.30т-2

Чертеж изделия:
Характеристики изделия:
ПараметрЗначение
Длина1480 мм
Ширина200 мм
Высота2980 мм
Масса2075 кг
Нормативный документСерия 1.134-1

Блоки внутренних  стен  по Серии 1.134-1.

СБВ-15.2.30т-2   Стеновой блок внутренний.