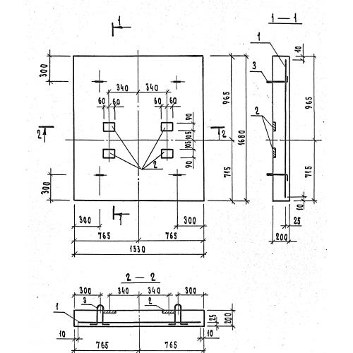
ПП 17.15

Чертеж изделия:
Характеристики изделия:
ПараметрЗначение
длина1680 мм
ширина1530 мм
высота200 мм
вес1300 кг
серия1.189.1-8

ПП 17.15 Плиты приямка по серии 1.189.1-8.