ПС 12.12.1

Чертеж изделия:
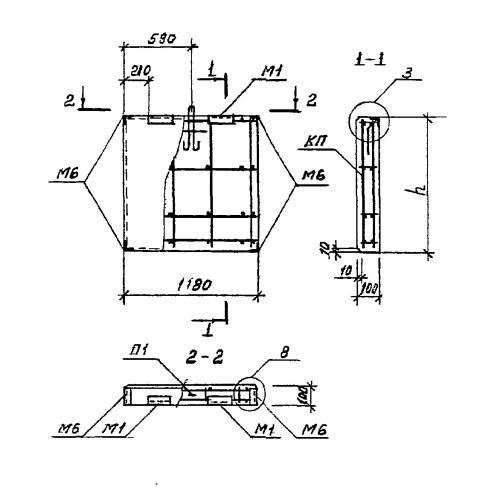
Характеристики изделия:
ПараметрЗначение
длина1180 мм
ширина100 мм
высота1185 мм
вес350 кг
серия1.432.1-34.94

ПС 12.12.1 Панели стеновые по серии 1.432.1-34.94.