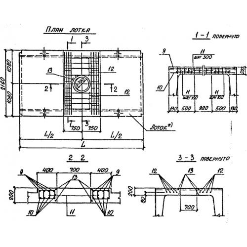
Ло 21/2 лотки с отверстием

Чертеж изделия:
Характеристики изделия:
ПараметрЗначение
длина2970 мм
ширина2160 мм
высота1400 мм
масса4650 кг
нормативный документСерия 3.006.1-2/87

Ло 21/2  Лотки теплотрасс с отверстием Серия 3.006.1-2/87.