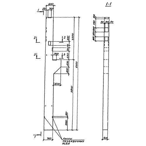
К 1

Чертеж изделия:
Характеристики изделия:
ПараметрЗначение
длина9300 мм
ширина400 мм
высота1300 мм
вес6750 кг
серия3.016.1-11

К 1 Колонны по серии 3.016.1-11.