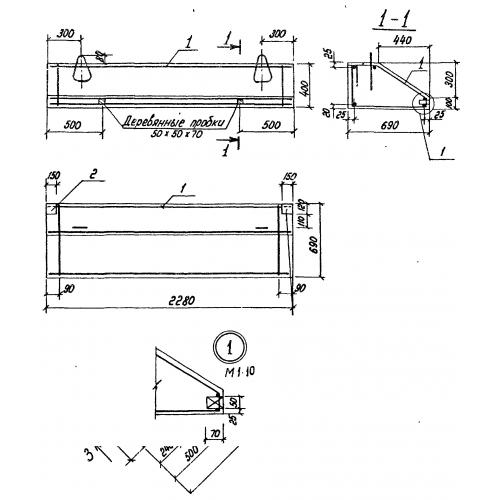
Д 4

Чертеж изделия:
Характеристики изделия:
ПараметрЗначение
длина2280 мм
ширина690 мм
высота400 мм
вес1050 кг
серия3.702-1/79

Д 4 Балки днища по серии 3.702-1/79.