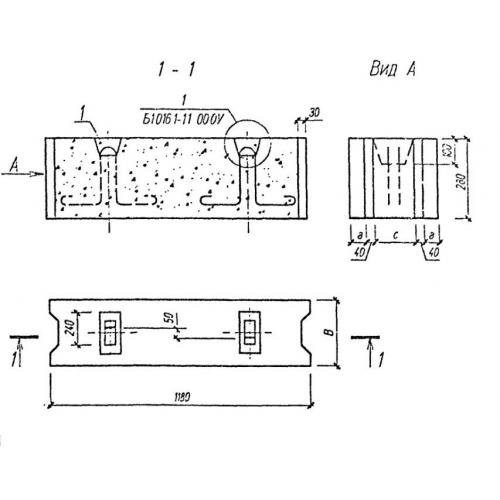
ФБС 12.4.3

Чертеж изделия:
Характеристики изделия:
ПараметрЗначение
длина1180 мм
ширина400 мм
высота280 мм
масса310 кг
нормативный документСерия Б 1.016.1-1

ФБС 12.4.3  Фундаментные блоки сплошного сечения по Серии Б 1.016.1-1.