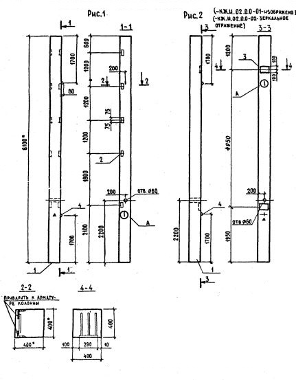
К 72

Чертеж изделия:
Характеристики изделия:
ПараметрЗначение
длина8100 мм
ширина400 мм
высота400 мм
вес3300 кг
серияТП 503-7-13.88

К 72 Колонны по проекту ТП 503-7-13.88.